產品目錄 | Product catalog
歷經10年努力,國網江蘇省電力有限公司打造了“一交四直"特高壓受電格局,區外來電引入能力超4500萬千瓦,每年可替代省內燃煤超6300萬噸,減排二氧化碳1.57億噸。以堅強的電網建設和創新的能源發展模式,為江蘇經濟社會發展筑牢能源基石,這不僅緩解了能源供需壓力,更推動了綠色轉型。
在經濟飛速發展與“雙碳"目標的時代背景下,能源的穩定供應與綠色轉型至關重要。江蘇作為制造業和能源消費大省,能源供需矛盾突出,“外電入蘇"成為必然選擇。同時,江蘇還積極挖掘本地能源潛力,依托沿海優勢,建成國內很大海上風電集中匯流輸送平臺,海上風電并網容量不斷攀升。江蘇電網迭代升級形成500千伏“七縱七橫"骨干網架,為能源高效配置架起“電力高速公路網",進一步提升了電網跨區域調配能力。
長江分割了江蘇南北,造成能源供需“逆向分布",北電南送成為優化能源版圖的關鍵。國網江蘇省電力有限公司不斷創新突破,蘇通GIL綜合管廊和鳳城 - 梅里500千伏長江大跨越工程相繼建成,大幅提升了北電南送能力。面對新增跨江輸電通道的生態制約,揚州 - 鎮江±200千伏直流輸電工程通過“交改直"“嵌入式"改造,提升了跨江輸電能力,避免了對長江生態的影響,為存量通道改造提供了范例。

一、產品概述(LYDY-V電力市場需求“絕緣油介質損耗及體積電阻率測試儀"主要特點介紹)
LYDY-V型精密油介損及體積電阻率測試儀是用于絕緣油等液體絕緣介質的介質損耗角及體積電阻率測試的一體化結構的高精密儀器。內部集成了介損油杯、溫控儀、溫度傳感器、介損測試電橋、交流試驗電源、標準電容器、高阻計、直流高壓源等主要部件。其中加熱部分采用了當前很好的高頻感應加熱方式,該加熱方式具備油杯與加熱體非接觸、加熱均勻、速度快、控制方便等優點。交流試驗電源采用AC-DC-AC轉換方式,有效避免市電電壓及頻率波動對介損測試準確性影響,即便是發電機發電,該儀器也能正確運行。內部標準電容器為SF6充氣三極式電容,該電容的介損及電容量不受環境溫度、濕度等影響,保證儀器長時間使用后仍然精度一致。
儀器內部采用全數字技術,全部智能自動化測量,多種模式測式,配備了大屏幕(320×240)觸控式顯示器,全中文菜單,每一步驟都有中文提示,測試結果可以打印輸出,操作人員不需專業培訓就能熟練使用。
鄭重提醒:本公司提醒用戶,該設備有高壓輸出,如果使用不當可能危及人身安全!
操作員在未仔細閱讀使用說明書之前,嚴禁使用本儀器!
二、控制面板(LYDY-V電力市場需求“絕緣油介質損耗及體積電阻率測試儀"主要特點介紹)

圖一 控制面板圖
1.主面板功能區
微型打印機:完成輸出數據打印;
總電源開關:設備輸入電源控制;
觸控式液晶顯示屏:主操作區,設備各項目的設定以及測試操作(具體操作見 “操作");
狀態指示區;
高壓燈(紅色): 如果燈亮,表示油杯上已經帶高壓電;
加熱燈(綠色): 如果燈亮,表示加熱爐正在加熱;如果燈閃爍,表示已接近設定溫度,正在恒溫;燈滅時同樣要注意油杯上的高溫;
RS232端口:設備計算機控制串口,通過計算機控制設備的運行;
復位:初始化整機的全部控制;
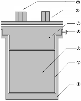
三、油杯簡介(LYDY-V電力市場需求“絕緣油介質損耗及體積電阻率測試儀"主要特點介紹)
1.油杯結構

圖二 油杯結構圖
①油杯杯體,測量加壓極 ②油隙
③油杯內電極,測量測試極 ④內電極固定鈕
⑤油杯內電極,測量屏蔽極 ⑥測試端
⑦溫度接口
2.油杯技術標準
油杯采用三極式結構,全部符合GB5654-85標準,極間間距2mm,可消除雜散電容及瀉漏對介損測試結果的影響。
3.油杯使用
裝入油杯:
將油杯平穩放入儀器加熱爐內,保證油杯底部接觸良好,以便有良好電接觸和熱接觸,裝入后應將測試線接好,黑色線是信號測試線,白色是溫度測量線
取出油杯:
必須在斷電情況下,先取下短的黑色、白色測量線后直接將油杯取出。
4.拆裝油杯電極
將內電極固定鈕④旋松后可將內電極全部取出;同樣,裝入內電極后應將內電極固定鈕④旋緊。
5.裝入油樣
將取出內電極的后油杯杯口朝上,然后將其向下輕斜約60度左右,再將裝有40ml被試油樣的量杯的杯口邊緣碰到油杯杯口內壁,接著量杯慢慢輕斜,緩慢將油倒入, 注意盡可能不要在油中夾入氣泡;完成后便可將內電極慢慢裝入油杯,然后打擰好內電極固定鈕,再將整個裝完油的油杯放入主機靜止15分鐘(這樣可很好的將大部分氣泡排出;如不靜止,將直接影響設備加壓情況以及數據的準確);最后就可以運行主機。
注意:內電極系非常精密部件,取出、裝入時一定動作緩慢,平穩,內外電極間不要碰撞,以防破壞表面,導致整個油杯報廢;
6.油杯清洗
全部清洗:測量前,應對油杯進行的清洗,這一步驟非常重要。因為絕緣油對極微小的污染都有極為敏感的反應。因此必須嚴格按照下述方法要點進行。
全部拆卸油杯電極;
用中性擦皂或洗滌劑清洗。磨料顆粒和磨擦動作不應損傷電極表面;
用清水將電極清洗幾次;
用無水的酒精浸泡各零件;
電極清洗后,要用絲綢類織物將電極各部件的表面擦拭干凈(別的布料會有絨毛粘在電極上),并注意將零件放置在清潔的容器內,不要使其表面受灰塵及潮氣的污染;
將各零部件放入100℃左右的烘箱內,將其烘干。
以油洗油:有時由于油樣很多,所以在測量中往往會一個接一個油樣進行測量。此時電極的清洗可簡化。具體做法如下:
將儀器關閉,將整個油杯都從加熱器中拿出,同時將內電極從油杯中取出;
將油杯中的油倒入廢油容器內,用新油樣沖洗油杯幾次;
裝入新油樣;
用新油樣沖洗油杯內電極幾次,然后將內電極裝入油杯。
附說明:以油洗油的清洗方式可大大提高了測量速度,但如遇到特別臟的油樣或長時間不用時,應使用前面一種方式。
7.油杯主要技術參數
⑴ 高低壓之間距離 2mm
⑵ 空杯電容量 60±2PF
⑶ 極大測試電壓 工頻2000V
⑷ 空杯介損 tgδ<1×10-4
⑸ 液體容量 約40ml
⑹ 電極材料 不銹鋼
體積 70mm(D)×120mm(H)
四、工作原理(LYDY-V電力市場需求“絕緣油介質損耗及體積電阻率測試儀"主要特點介紹)
1.儀器內部功能構造框圖

圖三 儀器內部功能構造框圖
2.介損測量原理圖

圖四 介損測量原理圖
3.工作原理
加熱
儀器采用高頻感應爐加熱,啟動加熱后,溫控CPU發出加熱命令,同時采集油杯內部溫度傳感器的溫度值,加熱采用變功率控制和PWM控制兩者相結合的控制方式。在油樣溫度較低時,用大功率加熱方式,這有利于縮短油樣加熱時間;待溫度升至接近預設溫度時,采用較小功率PWM加熱方式,這樣有利于油樣加熱均勻。
高頻感應爐加熱避免了發熱塊加熱不均勻的現象。
控溫
在實測溫度接近預設溫度時,溫控CPU采用小功率PWM方式加熱,采樣溫度值經PID運算,分析出很好PWM控制占空比,使溫度嚴格控制在預設溫度誤差范圍以內。
介損測量
試驗電壓同時加在儀器內部標準電容器及油杯加壓極上,測量電路對這兩路信號進行PGA等控制后對兩通道信號進行同步AD采樣,將數字信號送DSP(數字信號處理器),DSP對其進行濾波、FFT等運算后計算出tgδ、C x 、ε等參數,送主控CPU。
體積電阻率測量
直流高壓試驗電壓加在油杯加壓極上,經過測試回路,產生一微弱電流信號,該微弱電流信號經測量電路放大后送進AD采樣,將數字信號送DSP(數字信號處理器),DSP對其信號進行處理,計算出Rx、ρ等參數,送主控CPU。
4.名詞解釋
試驗源為AC tgδ :油樣介質損耗角正切值;
Cx :油樣油杯的電容值;
εr :相對介電常數,是根據電容值換算而得到的;
試驗源為DC Rx :油樣的絕緣電阻;
ρ :油樣的體積電阻率,是根據絕緣電阻換算而得到的;
基于上述兩種不同的試驗電源對油樣有不同的極化效應,因而重復測試時,中間必須有足夠的放電時間!否則數據不可靠! |
五、主要技術指標(LYDY-V電力市場需求“絕緣油介質損耗及體積電阻率測試儀"主要特點介紹)
1 | 使用條件 | -15℃∽40℃ RH<80% | |
2 | 電 源 | AC 220V±10% 頻率無限制 | |
3 | 交流高壓輸出 | 400V∽2200V ±2% 每隔100V 50VA | |
4 | 直流高壓輸出 | 200V∽600V ±2% | |
5 | 溫控感應爐 | 很大功率500W | |
6 | 溫度控制范圍 | <100℃ | |
7 | 溫度控制誤差 | ±0.5℃ | |
8 | 溫度測量分辨率 | 0.1℃ | |
9 | 控溫時間 | 室溫到90℃ 小于20min | |
10 | 測量范圍 | tgδ C x R | 無限制 15PF-300PF 10M-10T |
11 | 分辨率 | △ tgδ: △ Cx : △ Rx : | 0.001% 0.01pF 0.01 |
12 | 精 度 | △ tgδ: △ Cx : △ Rx : | ±(讀數*0.5%+0.040%) ±(讀數*0.5%+0.5PF) ±讀數 * 10% |
13 | 相對介電常數 | εr | 根據Cx自動計算,精度同Cx |
14 | 體積電阻率 | ρ | 根據Rx自動計算,精度同Rx |
15 | 外形尺寸 | 450(L)×310(W)×360(H) | |
16 | 重 量 | 18Kg | |

國網江蘇電力的努力帶來了顯著成效。優化能源資源配置能力,加速能源結構轉型,提高非化石能源消費比重,減少碳排放,助力江蘇在綠色發展道路上大步前行;加快推進內蒙古沙漠基地送電江蘇特高壓工程,進一步提升區外來電能力,讓企業能穩定生產,居民能安心生活;加大海上風電等新能源開發利用力度,提高本地能源供應比例;不斷探索創新輸電技術和電網改造方案,提升電網智能化水平和運行效率。
由此,我們要像國網江蘇省電力有限公司那樣,面對未來的挑戰和機遇,繼續以創新為驅動,以綠色為導向,在能源建設和轉型中持續發力,強大省級主干網架,發揮砥柱的作用,只有這樣,才能筑牢全省安全保供的堅實保障,才能為江蘇經濟社會的可持續發展注入源源不斷的動力,進而書寫更加輝煌的能源篇章。
近日,上海來揚電氣專業技術團隊奔赴徐州重要合作單位,進行一批檢測設備的安裝和技術調試服務。
我公司技術人員通過理論講解,實操演示、現場答疑,確保使用客戶能夠熟練掌握產品性能,提升客戶自身維護產品的能力。安裝完畢后,客戶對我公司產品性能表示肯定,對我公司技術人員專業水平表示認可,為長期合作奠定牢靠的基礎。我們也將致力于客戶的需求為導向,及時做到產品智能化升級與更新,確保我公司產品與時俱進。

